앞 글들에서는
- 온도센서 이상,
- CMU 고장,
- 셀 전압 0V,
- 냉각수 온도·수위 이상
같은 **“증상 중심 사례”**를 다뤘다면,
이번 글은 실무에서 계속 쓰게 되는 기본기 – 회로 단선/단락 점검 방법을 한 번 정리해 보려고 합니다.
특히 전기차에서는
- 고전압 계통 센서
- 냉각수 온도/수위 센서
- 압력 센서, 유량 센서
등 거의 모든 신호가 배선 두세 가닥으로 ECU까지 연결되어 있기 때문에,
센서 자체보다 배선·커넥터 문제로 들어오는 고장이 꽤 많습니다.
그래서 **“센서 이상인지, 회로(배선) 이상인지”**를 빠르게 분리해내는 게
정비 시간을 줄이고, 쓸데없이 부품만 갈아보는 일을 줄이는 핵심입니다.

1. 단선/단락이란? 한 줄 정의부터
1) 단선(Open circuit)
- 말 그대로 선이 끊어진 상태
- ECU에서 전압을 보내도 센서까지 전류가 흐르지 못함
- 스캔 데이터로는
- 비현실적 수치(예: -50℃, 0V, 5V 고정),
- 또는 센서 회로 오픈 관련 DTC로 나타나는 경우가 많습니다.

2) 단락(Short circuit)
- 전선이 원래 연결되면 안 되는 곳과 붙어 버린 상태
- 신호선 ↔ GND (접지 단락)
- 신호선 ↔ B+ (전원 단락)
- 신호선 ↔ 다른 신호선
- 이 경우 스캔 데이터에서
- 항상 0 근처나
- 항상 최대값 근처로 고정되거나
- ECU가 단락 DTC를 기록합니다.
단선이든 단락이든, 결국 회로의 저항·전압 상태를 멀티미터로 확인해서 찾게 됩니다.

2. 점검 들어가기 전 필수 안전 절차 (EV 기준)
전기차 센서 회로 점검이라고 해도,
배터리·인버터 주변 배선은 고전압 부품과 물리적으로 가깝게 붙어 있는 경우가 많습니다.
그래서 아래 절차는 기본으로 깔고 가야 합니다.
- 시동 OFF / READY 해제
- 서비스 플러그(메인 릴레이) OFF
- 고전압 단자 간 전압이 30V 이하로 떨어졌는지 확인
- 12V 보조 배터리(-) 단자 분리
- 관련 회로가 고전압 파트와 맞닿아 있는 경우,
- 제조사에서 지정한 추가 안전장비(PPE, 절연 장갑, 보호구) 착용
이후에야 ECU 커넥터 분리, 센서 커넥터 분리, 배선 단선/단락 점검을 진행합니다.
3. 단선 회로 점검 – “길이 끊겼는지” 보는 방법
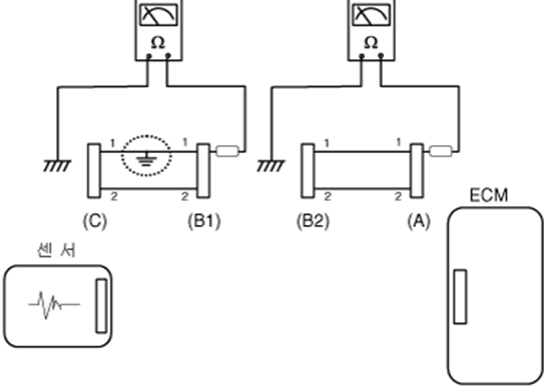
3-1. 기본 구조 이해
예시: 3선식 센서 회로 (5V 공급 / 신호 / 접지)
- (A) : ECU 쪽 커넥터 단자
- (B) : 배선 중간
- (C) : 센서 쪽 커넥터 단자
3-2. 점검 순서
- 센서와 ECU 커넥터를 모두 분리
- 센서 회로에 ECU 내부 회로나 센서 저항이 섞이지 않게 하기 위함

- ECU 단자(A) ↔ 센서 단자(C) 사이 저항 측정
- 멀티미터를 저항(Ω) 모드로 놓고
- 양쪽 단자 사이를 찍어서
- 거의 0Ω에 가까우면 → 정상
- 무한대(∞) 또는 매우 큰 값 → 단선 가능성

- 중간 분기점(B)을 활용한 분할 점검
- A ↔ B 간 저항 측정
- B ↔ C 간 저항 측정
- A–B는 0Ω 근처, B–C는 ∞라면
→ B–C 구간에 단선이 있다고 볼 수 있습니다.
- 만약 단선이 의심되면, 그림처럼 **중간 지점(B)**을 활용해
어디까지 살아 있는지 나눠서 확인합니다.
이 방식은 **하네스 길이가 긴 센서(배터리, 냉각라인, 차체 하부 배선 등)**에서
어디 구간을 집중 분해해야 할지 결정할 때 아주 유용합니다.
4. 단락 회로 점검 – “붙으면 안 되는 곳과 붙었는지” 보는 방법

- 신호선 ↔ 접지(GND) 단락
- 신호선 ↔ 전원(B+) 단락
- 신호선 ↔ 다른 신호선 단락
4-1. 신호선 ↔ GND 단락


- ECU·센서 커넥터 분리
- 신호 단자 ↔ 차체 접지 사이 저항 측정
- 결과 해석
- 수백 kΩ 이상, 혹은 무한대에 가까우면 → 정상
- 수Ω ~ 수십Ω 수준으로 너무 낮으면 → 접지 쇼트 가능성
4-2. 신호선 ↔ 전원 단락
이 경우는 보통 ECU 쪽에서 5V/12V 전원 공급을 하기 때문에,
점검 전에 반드시 서비스 매뉴얼 절차에 맞춰 ECU 단자 상태를 확인합니다.
방법은 비슷하게,
- 신호 단자 ↔ 전원 단자(5V, 12V) 사이 저항을 측정해서
- 비정상적으로 낮은 저항이 나오는지 확인합니다.
4-3. 신호선 ↔ 다른 신호선 단락
센서가 여러 개 묶인 하네스에서는
서로 다른 센서 신호선끼리 붙어버리는 경우도 있습니다.
- 예: 온도센서와 압력센서 신호선이 동시에 움직인다거나,
- 특정 센서를 건드리면 다른 센서 값도 같이 튄다거나 하는 경우.
이때는
- 의심되는 두 신호선 단자 사이 저항을 측정해서
- 거의 0Ω에 가깝다면 상호 단락으로 볼 수 있습니다.
5. “센서가 고장인가, 배선이 문제인가?” 구분 팁
실무에서 가장 많이 하는 고민이 바로 이거죠.
센서 갈아보자니 비싸고,
배선 뜯어보자니 작업이 너무 크고…
아래 패턴을 기억해 두면 판단이 조금 쉬워집니다.
- 센서 교체 후에도 똑같은 코드/증상 재발
- → 배선 또는 ECU 쪽 문제 가능성↑
- 센서 커넥터만 살짝 건드려도 값이 튄다
- → 커넥터 접촉불량 또는 단선 초기(실선만 겨우 붙어 있는 상태)
- 스캔 데이터가 “딱 한 값”에 고정
- 예: 항상 -40℃, 항상 5V, 항상 0V 등
- → ECU가 오픈/단락을 감지해 기본값을 띄우는 경우가 많음
- 이때는 센서 자체보다 회로 쪽 점검을 먼저
- 같은 하네스 안 여러 센서가 동시에 이상
- → 공통 접지선/공통 전원선, 혹은 중간 커넥터 손상 의심
6. 전기차 센서 회로 점검 시 추가로 유의할 점
- 고전압 부품 바로 옆 배선은 항상 안전 최우선
- 모듈·팩 상단 하네스를 점검할 때는
- 서비스 플러그 OFF
- 잔류 전압 확인
- 보호구 착용
- “어차피 저전압 센서선이니까 괜찮겠지”라는 생각은 금물입니다.
- 모듈·팩 상단 하네스를 점검할 때는
- 절연저항과 단선/단락 점검을 같이 보자
- 누수나 수분 유입이 있는 경우
- “절연저항 저하 + 단락/누설”이 동시에 나타날 수 있음
- 앞선 #7 냉각수 수위 초과 사례처럼
- 절연검사 결과와 회로 점검 결과를 같이 해석하는 게 중요합니다.
- 누수나 수분 유입이 있는 경우
- 매뉴얼의 단자 번호·배선도는 항상 옆에 펴놓고
- “A–B–C” 지점이 실제 차량에서 어느 커넥터, 몇 번 단자인지
- 혼동하면 엉뚱한 회로를 하루 종일 재고 있을 수 있습니다.
7. 마무리 – 회로 점검은 “지도 보고 길 찾기”다
이번 글을 한 줄로 정리하면:
단선 점검은 “길이 끊겼는지”, 단락 점검은 “붙으면 안 되는 곳과 붙었는지” 확인하는 작업이고,
이를 위해 ECU·센서 커넥터를 분리한 뒤 멀티미터로 저항을 재며 구간을 쪼개서 좁혀가는 과정이다.
⚡️ 전기차 고장 사례 및 진단: #1 고전압 부품 절연파괴 (Insulation Breakdown)
⚡️ 전기차 고장 사례 및 진단: #1 고전압 부품 절연파괴 (Insulation Breakdown)
이번 글에서는 전기차에서 발생할 수 있는 주요 고장 중 하나인 고전압 부품 절연파괴 사례와 그 진단 과정에 대해 자세히 알아보겠습니다. 고전압 시스템의 절연파괴는 안전과 직결되는 중요
moneygeneration.tistory.com
⚡️ 전기차 고장 사례 및 진단: #2 전기차 고전압 배터리 온도센서 이상, 실제 고장 사례로 정리해보기
⚡️ 전기차 고장 사례 및 진단: #2 전기차 고전압 배터리 온도센서 이상, 실제 고장 사례로 정리
전기차를 진단하다 보면 생각보다 자주 마주치는 고장이 고전압 배터리 온도센서 이상입니다.특히 모듈 온도가 비정상적인 값(예: -50℃) 으로 표시되면서 경고등이 들어오면 정비사 입장에서도
moneygeneration.tistory.com
⚡️ 전기차 고장 사례 및 진단: #3 셀 전압이 줄줄이 5.1V로 찍힐 때
⚡️ 전기차 고장 사례 및 진단: #3 셀 전압이 줄줄이 5.1V로 찍힐 때
앞 글에서 배터리 온도센서 이상 사례를 다뤘다면,이번에는 그보다 한 단계 윗단인 CMU(Cell Monitoring Unit) 고장 사례를 정리해 보려고 합니다.실제 입고 차량에서 경험한 사례로,특정 셀 전압부터
moneygeneration.tistory.com
⚡️전기차 고전압 배터리 고장사례 #4 : 특정 셀 전압 0V, 어떻게 진단하고 수리했나?
⚡️전기차 고전압 배터리 고장사례 #4 : 특정 셀 전압 0V, 어떻게 진단하고 수리했나?
이번 사례는 스캔 화면만 봐도 느낌이 확 오는 케이스입니다.특정 셀 전압이 0.00V로 표시되는 고장→ 실제로는 모듈/셀 자체 불량→ 최종 조치는 불량 모듈 교체 + 셀밸런싱 & 갭필러 도포까지 진
moneygeneration.tistory.com
⚡️전기차 고전압 배터리 고장사례 #5 : 고전압 배터리 “1번 냉각수 온도센서” 이상 (P0C4212)
⚡️전기차 고전압 배터리 고장사례 #5 : 고전압 배터리 “1번 냉각수 온도센서” 이상 (P0C4212)
전기차 고전압 배터리는 셀 온도뿐 아니라, 배터리를 식혀주는 냉각수의 온도도 계속 감시합니다.그래서 냉각수 온도센서에 이상이 생기면, 배터리 보호 차원에서 바로 DTC를 띄우고 출력 제한
moneygeneration.tistory.com
⚡️전기차 고전압 배터리 고장사례 #6 : 배터리 비정상 거동 감지 P1AA600, 셀 이상 어떻게 찾아갈까?
⚡️전기차 고전압 배터리 고장사례 #6 : 배터리 비정상 거동 감지 P1AA600, 셀 이상 어떻게 찾아갈
전기차를 타다가 계기판에 “전기차 시스템 점검 필요” 같은 문구가 뜨고,스캔을 찍어보니 P1AA600 – 배터리 비정상 거동 감지 라면 꽤 긴장되는 상황입니다.이번 글에서는 실제 사례 기반으로D
moneygeneration.tistory.com
⚡️전기차 고전압 배터리 고장사례 #7 : 배터리 냉각수 수위 초과(P1BD400)
⚡️전기차 고전압 배터리 고장사례 #7 : 배터리 냉각수 수위 초과(P1BD400)
이번 사례는 고전압 배터리 쪽 냉각수 수위 센서가 비정상 상태를 감지해서 뜨는 코드,DTC P1BD400 “배터리 냉각수 수위 초과” 관련 내용입니다.슬라이드 내용을 정리하면,코드 : P1BD400증상 : 배
moneygeneration.tistory.com
'xEV 배터리' 카테고리의 다른 글
| ⚡️전기차 고전압 배터리 고장사례 #7 : 배터리 냉각수 수위 초과(P1BD400) (0) | 2025.12.09 |
|---|---|
| ⚡️전기차 고전압 배터리 고장사례 #6 : 배터리 비정상 거동 감지 P1AA600, 셀 이상 어떻게 찾아갈까? (0) | 2025.12.09 |
| ⚡️전기차 고전압 배터리 고장사례 #5 : 고전압 배터리 “1번 냉각수 온도센서” 이상 (P0C4212) (0) | 2025.12.09 |
| ⚡️전기차 고전압 배터리 고장사례 #4 : 특정 셀 전압 0V, 어떻게 진단하고 수리했나? (0) | 2025.12.09 |
| ⚡️ 전기차 고장 사례 및 진단: #3 셀 전압이 줄줄이 5.1V로 찍힐 때 (0) | 2025.12.09 |